اسرة الفقيد الميسري تستقبل واجب العزاء بعدن
استقبل محمد الميسري، رئيس قسم المشتريات بديوان وزارة العدل، اليوم واجب العزاء في وفاة والده نائب مدي...
استقبل محمد الميسري، رئيس قسم المشتريات بديوان وزارة العدل، اليوم واجب العزاء في وفاة والده نائب مدي...
أيد مغردون جنوبيون، دعوة القوى المدنية والحقوقية الجنوبية، إلى مليونية انتزاع الحقوق المقررة غدا الث...
نظمت هيئة التدريب والتأهيل المساعدة لهيئة رئاسة المجلس الانتقالي الجنوبي، اليوم الاثنين، ورشة تدريبي...
أضرار تناول السُكّر : يزيد حموضة المعدة والدّم ويضعف المناعة ويعجّل ال...
ظلت عينا والدي مركزتين على السيارات التي تسبقنا وقال دون أن يلتفت إلى:...
قبل الحجاب كانوا يسألونني باستمرار عن سر كثافة شعري و لمعانه و بريقه...
عمل خبراء من جامعة الملكة ماري في لندن على صنع حشوة أسنان جديدة، تساعد...
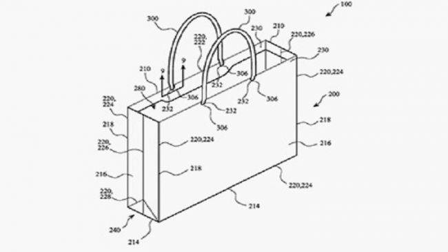
عملت شركة آبل على اختراع نوع جديد من أكياس الورق، يتميز عن الأكياس الم...
في مساهمتها الأولى في حمّى المركبات ذاتية القيادة، قررت...
ما الذي يتعين على البشرية أن تقوم به لكي تستعمر الفضاء، أو حتى...
أعلنت شركة إل جي عن أحدث إصداراتها من الأدوات المنزلية الذكية...
تعادل الشهران الماضيان في السباق نحو أعلى درجة حرارة سجلت في ا...
تعادل الشهران الماضيان في السباق نحو أعلى درجة حرارة سجل...
وجد الباحثون طريقة لاستخدام تخطيط الدماغ الكهربائي في التعرّف...
على الرغم من أن الطباعة ثلاثية الأبعاد تحدث أثراً بارزاً في ا...
أفاد باحثون من جامعة لانكستر أن جزيئات أكسيد الحديد الأسود ال...